Estudo de seletividade de proteção

IMPORTÂNCIA DOS SERVIÇOS DE ESTUDO DE SELETIVIDADE DE PROTEÇÃO

Muitas normas de instalações elétricas, de equipamentos e de segurança (principalmente do Ministério do Trabalho) foram criadas e estão sendo adotadas em larga escala nos projetos e instalações de sistemas elétricos. O estudo de seletividade de proteção, ou estudos de coordenação e seletividade de proteção, cumpre a função de minimizar os danos potenciais de eventuais falhas e, ainda, reduzir o tempo de indisponibilidade desses sistemas ou equipamentos.

Com o estudo de seletividade de proteção, a empresa tem uma visão fiel do quão protegido é seu sistema elétrico e o grau de proteção que está oferecendo aos seus colaboradores e usuários, além de estar em conformidade com as normas brasileiras e junto aos órgãos fiscalizadores.

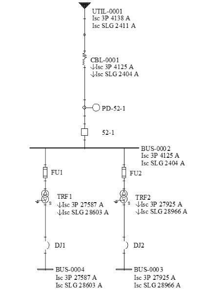
Basicamente, o estudo de seletividade de proteção avalia três tecnologias de proteção (disjuntores, relés de proteção e fusíveis), bem como a possibilidade de recomendação do emprego de cada um deles em cada uma das situações avaliadas.

A MILLE ENGENHARIA APRESENTA EXCELÊNCIA NO ESTUDO DE SELETIVIDADE DE PROTEÇÃO PARA EMPRESAS DE DIVERSOS SETORES

Com auxílio de softwares de ponta e profissionais experientes e com alto nível de conhecimento técnico, a Mille Engenharia realiza um estudo de seletividade de proteção de alta qualidade. Além de avaliar as possíveis topologias de um sistema elétrico (radial, radial com recurso, anel ou reticulado), o estudo de seletividade de proteção executado pela Mille Engenharia contempla a análise de alguns dispositivos, como:

  • Disjuntores;
  • Fusíveis;
  • Relés de sobrecorrente;
  • Barramentos;
  • Reguladores;
  • Religadores;
  • Seccionalizadores;
  • Chaves seccionadoras e de aterramento;
  • Para-raios.

Quanto às coordenações dos dispositivos de proteção avaliadas, são realizadas as coordenações de fusíveis em série, entre o fusível e o religador, entre o fusível e o disjuntor, entre o religador e o seccionalizador.

Além dos cálculos e elaboração do laudo, a Mille Engenharia pode ajudar e até mesmo executar a parametrização e comissionamento dos relés.

A Mille Engenharia conta também com uma instalação fabril para montagens e testes e dispõe de profissionais capacitados para atendimento contínuo nas plantas do cliente. A empresa foi fundada em 2000 a atende principalmente a região do estado de São Paulo com eficiência e qualidade nos serviços.

Para saber mais sobre Estudo de seletividade de proteção

Ligue para (11) 2468-1627 ou clique aqui e entre em contato por email.